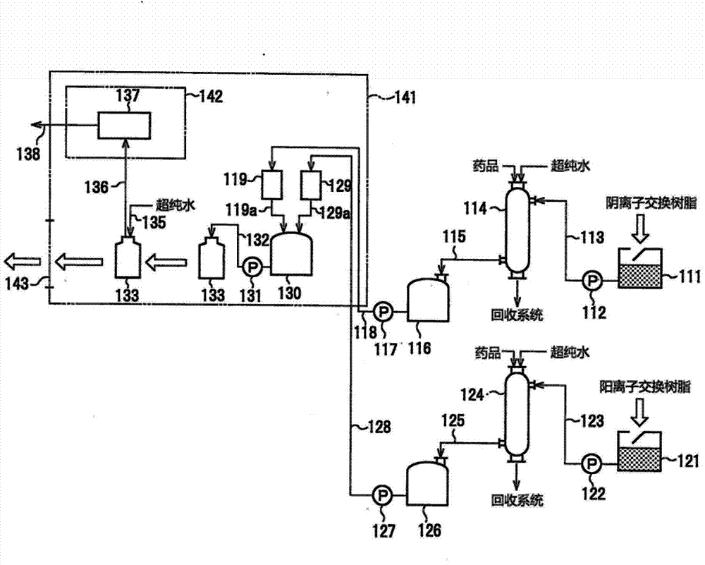
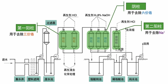
专题文章:离子交换树脂工艺流程图
										
										512
次阅读
									次阅读


硅芯片级抛光树脂;半导体抛光树脂;芯片级抛光树脂;TOC抛光树脂;罗门哈斯UP6150抛光树脂;6150替代品;5ppb以下抛光树脂;离子交换树脂;阴阳离子交换树脂;离子交换树脂厂家;超纯水抛光树脂;纯水离子交换树脂;抛光树脂;杜邦UP6150替代品
										专题文章:离子交换树脂工艺流程图


硅芯片级抛光树脂;半导体抛光树脂;芯片级抛光树脂;TOC抛光树脂;罗门哈斯UP6150抛光树脂;6150替代品;5ppb以下抛光树脂;离子交换树脂;阴阳离子交换树脂;离子交换树脂厂家;超纯水抛光树脂;纯水离子交换树脂;抛光树脂;杜邦UP6150替代品